请编辑网站标题

新闻详情

b-science.net 三周电池专利评论 2025-11-06~11-26

来源:b-science.net作者:b-science.net
文章附图


b-science.net
·三周电池专利评论·
2025-11-06~11-26


瑞士b-science.net专利报告订阅价目表(中国市场)


入门订阅1200元半年!瑞士专利报告助力中国技术腾飞


针对锂电池行业创新比较活跃的固态电解质、高能正极、高能负极及燃料电池材料,瑞士b-science.net收录了最近三周全球比较重要的专利申请,并对关键专利进行了评论(紫色字体部分),摘要如下:


(付费用户会获得完整的三项专利评论及专利列表的EXCEL文档)

请查看我们新的常见问题页面,了解我们如何为高级订阅用户提供价值、我们的人工智能方法以及高级订阅的范围。



锂离子电池 - 电解质 - 固体和凝胶


固态隔膜制造方法


申请人:

POWERCO / DE 102024204373 A1


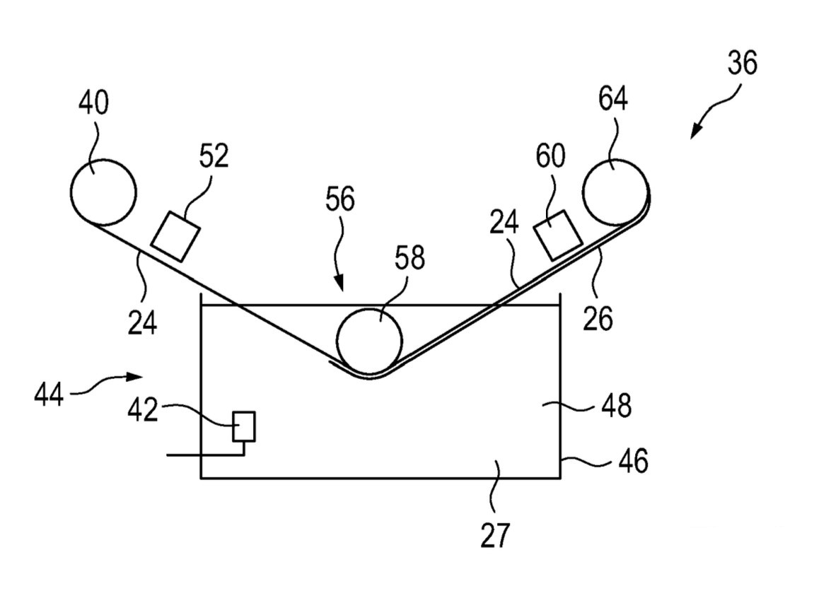
本发明描述了一种固态隔膜的连续生产工艺(见下图),其中金属箔从卷筒上展开,并通过热风鼓风机预热(≥50°C)。

预热后的铜箔被引导穿过熔融固态电解质(Li6.75La3Zr1.75Ta0.25O12LLZTO),该电解质在配备电加热装置的容器中保持450-1,200°C温度。熔融电解质中,箔材绕过完全浸没于熔体的圆柱形陶瓷辊(Al2O3基)。通过调节温度控制熔体粘度,以获得所需涂层厚度。

浸出熔融液后,经风扇冷却的电解质涂覆铜箔使固态电解质凝固,在金属箔两面形成厚度<30 μm的陶瓷层。涂覆箔材持续卷绕至收卷辊。涂覆过程全程无压力作用,避免陶瓷层产生晶界或缺陷。

24:
铜金属箔
26:
陶瓷层(LLZTO
27:
固态电解质
40:
放卷辊
42:
加热装置
44:
容器
46:
熔池
48:
熔体
52:
箔材预热装置
56:
第二组分
58:
陶瓷辊
60:
冷却组件
64:
收卷辊

1.jpg


本工作展示了通过高温熔融实现连续涂覆工艺,在金属箔上制备薄型固态烧结氧化物电解质层。


未发现电化学数据。


高级版本包括另外两项专利讨论,以及包含 50-100 个商业相关的最新专利族的 Excel 列表。

锂离子电池 - 负极(不包括锂金属电极)


锂离子二次电池用负极活性材料、其制备方法及包含该材料的锂离子二次电池

申请人:

SK ON / SK INNOVATION / EP 4648132 A1

将活性炭在800°C下加热制备含孔隙的碳基颗粒。


将碳基颗粒置于化学气相沉积反应器中。以5-25 mL/min流速注入单硅烷(SiH4)与氩气(体积比93%)混合气体。以5°C/min速率升温至450°C,随后煅烧12小时,使含硅颗粒沉积于碳基颗粒表面。


煅烧后,在450℃条件下通入氩/氮混合气体(体积比1 : 1)进行4小时脱氢反应以降低氢含量。


所得复合颗粒的硅含量为51质量%,氢含量为1.7质量%,H / Si比值为3.3%。含硅颗粒包含沉积于碳基颗粒表面的SiHx(0 < x ≤ 4)。


负极制备方法为:将95.5质量%复合颗粒、1质量%碳纳米管(CNT)、2质量%丁苯橡胶(SBR)粘合剂及1.5质量%羧甲基纤维素(CMC)增稠剂在水中混合,随后涂覆于铜箔上。


全电池采用NCM622正极、聚乙烯隔膜(厚度15 μm)及由1 M LiPF6溶于碳酸乙烯酯(EC)/ 碳酸乙基甲酯(EMC)/ 碳酸二乙酯(DEC)(体积比25 : 45 : 30)中并添加3质量%氟乙烯碳酸酯(FEC)、1质量%1,3-丙烯磺酰胺(PRS)及0.5质量%锂双(草酸)硼酸盐(LiBOB)组成的电解液组装而成。


在半电池测试中,经50次循环(0.5 C充放电,4.2 V充电截止,2.75 V放电截止)后,室温(25°C)容量保持率≥93%。在60°C条件下以100%电量状态储存8周后,测得高温储存容量保持率≥88%,而对照材料(H / Si比值为6.8%-7.1%)在50次循环后室温容量保持率<70%,高温容量保持率<50%;H / Si比值为0.2%-0.4%的对比材料室温循环50次后容量保持率<80%,高温容量保持率≥80%。


     本研究表明,通过精确控制单硅烷沉积温度(采用450°C的相对低温以抑制结晶)及硅碳活性材料颗粒中的氢含量,可显著提升循环寿命与高温储能性能。

高级版本包括另外两项专利讨论,以及包含 50-100 个商业相关的最新专利族的 Excel 列表。



锂离子电池 - 正极


正极材料、包含该材料的正极及锂二次电池

申请人:

LG化学 / WO 2025230179 A1

将Ni0.35Mn0.65(OH)2前驱体与氢氧化锂(Li与过渡金属摩尔比为1.32 : 1)及钨原料(1.0摩尔%)混合,随后进行煅烧(910°C,气氛未指定)。该材料与铝原料混合后煅烧(600°C,气氛未指定),获得平均粒径9.5 μm、多晶形态的富锂锰基氧化物正极材料。


另取Ni0.65Co0.05Mn0.35(OH)2前驱体与氢氧化锂(Li与过渡金属摩尔比为1.05 : 1)及Zr、Y原料混合,经煅烧(940℃,气氛未指定)后进行喷射研磨。研磨后的材料与铝和硼原料混合,经煅烧(360°C,气氛未指定)获得平均粒径为4.1 μm的单晶锂过渡金属复合氧化物活性材料。


将两种活性材料按质量比80 : 20(富锂锰氧化物与锂过渡金属复合氧化物)混合制备正极材料。


在半电池(锂金属负极)中,该材料展现出192 mAh/g的放电容量(0.1 C,25℃,电压窗口2.5-4.4 V vs. Li+/Li),50次循环后容量保持率达90.6%(0.1 C充放电)。相比之下,仅含锂过渡金属复合氧化物的对照材料容量为174 mAh/g,循环后容量保持率为95.4%。


该正极材料的卷绕密度为2.58 g/cm3,能量密度达1,834 Wh/L,而仅含小颗粒锂过渡金属复合氧化物的对照材料卷绕密度为2.79 g/cm3,能量密度为1,890 Wh/L。混合材料的卷绕密度提升有效防止了电极制造过程中的颗粒破裂,同时保持了高放电容量。


    本研究阐明两种材料的组合如何在性能与原材料成本(锰含量较高、钴含量较低)之间实现理想平衡。
   

高级版本包括另外两项专利讨论,以及包含 50-100 个商业相关的最新专利族的 Excel 列表。


质子交换膜燃料电池、固态氧化物燃料电池、磷酸燃料电池、阴离子交换膜燃料电池 - 电化学活性材料



燃料电池催化剂层组合物、其制备方法、包含该组合物的燃料电池电极及燃料电池

申请人:

可隆 / WO 2025230073 A1


制备了六方氮化硼(h-BN)纳米片与离子聚合物复合材料,用于聚合物电解质膜燃料电池(PEMFC)的阴极催化剂层。


将h-BN纳米片(短轴长度:150 nm,导热系数:600 W/mK,厚度:20 nm)与Nafion D2021离子聚合物在水和乙醇(体积比80 : 20)的混合溶剂中混合。混合物固含量(100质量份)由70质量份h-BN和30质量份离子聚合物组成。


混合物经高剪切混合器搅拌(6,500转/分钟,1小时),干燥(90°C,6小时),并经热处理(150°C,2小时)制成复合材料。离子聚合物涂层覆盖了约80%的h-BN表面积,厚度约为4.0纳米。


将该复合材料与铂催化剂(田中贵金属公司TEC10E50E,40纳米碳载体,46.8质量百分比Pt)和额外的Nafion D2021离子聚合物(科慕公司)混合,形成催化剂层组合物。该组分(100质量份)包含20质量份复合材料、40质量份催化剂及40质量份额外离子聚合物。


该组合物经喷涂法涂覆于转移基材并干燥,形成厚度约15 μm的催化剂层。随后将催化剂层转移至Nafion 117膜(科慕公司)的两侧,制成膜电极组件(MEA)。


耐久性测试(0.6-1.0 V,50 mV/s,10,000次循环,80°C,50%相对湿度,大气压)显示电压损失为13 mV,而未添加h-BN-离子聚合物复合材料的对照MEA电压损失达46 mV。


电池性能测试(80°C,50%相对湿度,大气压)显示:在整个电压范围内电流密度均优于未添加散热材料或采用不同复合配方的对照样品(见图)。


实施例1(실시예 1):h-BN纳米片(150 nm,600 W/mK)

实施例2(실시예 2):石墨烯(150 nm,800 W/mK)

实施例3(실시예 3):碳纳米管(直径200 nm,460 W/mK)

比较例1(비교예 1):无导热材料

比较例2(비교예 2):未形成离子聚合物复合物的h-BN

比较例3(비교예 3):导热性较低的h-BN(350 nm,180 W/mK)

比较例4(비교예 4):离子聚合物涂层不足(覆盖率15%)

比较例5(비교예 5):复合材料含量不足(1质量份)

比较例6(비교예 6):复合材料含量过高(50质量份)


2.jpg


本研究阐明了氮化硼(BN)纳米片作为质子交换膜燃料电池(PEMFC)催化剂层组分时,如何实现散热性能、耐久性及电压的提升。


高级版本包括另外两项专利讨论,以及包含 50-100 个商业相关的最新专利族的 Excel 列表。



-获取报价-

欢迎订阅电池创新与专利报告(以下链接可下载PDF预览版,付费用户可获得中英文完整版本)

固态锂离子电池(PDF364页)
高容量负极材料(PDF272页)
正极材料深入剖析章节(PDF3个章节)


燃料电池和电解槽(PDF,预售)